Глава III НАЗНАЧЕНИЕ, УСТРОЙСТВО ЧАСТЕЙ И МЕХАНИЗМОВ ПУЛЕМЕТА, ПРИНАДЛЕЖНОСТИ И ПАТРОНОВ

Назначение, устройство частей и механизмов пулемета

10. Ствол (рис. 13) служит для направления полета пули. Внутри он имеет канал с четырьмя нарезами, вьющимися вверх слева направо. Нарезы служат для придания пуле вращательного движения. Промежутки между нарезами называются полями. Расстояние между двумя противоположными полями (по диаметру) называется калибром канала ствола; у пулемета он равен 7,62 мм. В казенной части канал гладкий и сделан по форме гильзы; эта часть канала служит для помещения патрона и называется патронником. Переход от патронника к нарезной части канала ствола называется пульным входом.

Рис. 13. Ствол:

1 — пламегаситель; 2 — срезы для ключа-отвертки; 3 — газовая камора; 4 — выступ для упора в ограничительный зуб кожуха; 5 — нарезные секторные выступы; 6 — срез для зацепа рукоятки пулемета

Снаружи на стволе имеются: на дульной части — резьба для навинчивания пламегасителя и срезы для ключа-отвертки, газовая камора с регулятором и патрубком, выступ для упора ствола в ограничительный зуб кожуха; на казенной части — нарезные секторные выступы для соединения со ствольной коробкой, выемка для зуба головки замыкателя и срез для зацепа рукоятки пулемета. В стенке ствола имеется отверстие для отвода части пороховых газов в газовую камору. На казенном срезе ствола сделаны два выреза: нижний — для зацепа выбрасывателя и верхний — для досылателя затвора.

Пламегаситель служит для уменьшения блеска пламени при выстреле. На пламегасителе имеются срезы для ключа-отвертки.

11. Газовая камора с регулятором служит для направления и регулирования количества пороховых газов, отводимых из канала ствола на газовый поршень.

Газовая камора (рис. 14) имеет круговую выточку, в которую входит передний торец кожуха, чем предотвращается качка ствола; вертикальное отверстие для отвода пороховых газов; поперечное отверстие для помещения регулятора; патрубок, в который входит газовый поршень. На нижней плоскости газовой каморы сделаны три продольные прорези с цифрами 2, 1 и 3 для установки зуба фиксатора.

Регулятор (рис. 15) имеет три канавки, различные по ширине, и фиксатор с зубом. Каждая канавка может быть совмещена с вертикальным отверстием газовой каморы, чем регулируется подача пороховых газов на поршень; при этом зуб фиксатора указывает размер канавки, на которой ведется стрельба.

Рис. 14. Газовая камора:

1 — поперечное отверстие для регулятора; 2 — патрубок

Рис. 15. Регулятор:

1 — канавки; 2 — фиксатор; 3 — зуб фиксатора

Стрельбу из пулемета производить при установке регулятора на деление 1. При сильном загрязнении пулемета в случае неполного отхода подвижных частей назад регулятор устанавливается на деление 2. Делением 3 следует пользоваться только при затруднительных условиях стрельбы (при низких температурах воздуха, сильном запылении пулемета и т. п.).

Для перестановки регулятора с деления 2 на деление 3 необходимо ударами молотка по торцу регулятора переместить зуб фиксатора с цифры 2 на цифру 3.

Чтобы переставить регулятор с деления 2 или 3 на деление 1, необходимо выбить регулятор из газовой каморы, затем вновь вставить его с правой стороны и совместить зуб фиксатора с цифрой 1.

12. Кожух (рис. 16) служит для предохранения ствола и стержня газового поршня от случайных ударов, а пулеметчика от ожогов и для обеспечения прочности крепления ствола к ствольной коробке. Он неразъемно соединен со ствольной коробкой. Кожух состоит из двух соединенных между собой труб: верхней — для помещения ствола и нижней — для направления движения газового поршня.

На передней части кожуха имеются прилив, являющийся основанием мушки, вырез для помещения газовой каморы, зуб для ограничения поворота ствола, если он не полностью вставлен в ствольную коробку; сбоку — антабка для ремня.

На задней части кожуха имеются упор для приемника и Т-образный вырез для зацепа рукоятки пулемета.

На верхней трубе кожуха сделаны продольные вырезы (окна) для доступа воздуха к стволу с целью его охлаждения.

Сошка (рис. 16) служит упором при стрельбе. Она имеет две ноги, укрепленные осями в проушинах движка. На нижних концах ног сошки имеются сошники и башмаки; башмаки ограничивают углубление сошников в грунт.

Вдоль ног сошки имеются канавки, в которые укладываются звенья шомпола; внизу к ногам приварены кольца, в которые вставляются концы звеньев шомпола; верхние концы звеньев шомпола закрепляются подвижной муфтой с гнетком. В сложенном виде ноги скрепляются пружинной застежкой.

Рис. 16. Кожух с сошкой:

1 — верхняя труба; 2 — нижняя труба; 3 — прилив; 4 — вырез для газовой каморы; 5 — зуб для ограничения поворота ствола; 6 — антабка; 7 — упор для приемника; 8 — вырез для зацепа рукоятки; 9 — нога сошки; 10 — ось ноги сошки; 11 — сошник; 12 — башмак; 13 — кольцо; 14 — подвижная муфта с гнетком; 15 — застежка

13. Ствольная коробка (рис. 17) служит для соединения частей, обеспечения закрывания канала ствола затвором и запирания затвора.

Рис. 17. Ствольная коробка:

1 — замыкатель ствола; 2 — окно; 3 — щитик; 4 — крючки; 5 — прицел

Она имеет:

— внутри в передней части — канал с прерывчатой резьбой для соединения со стволом; на боковых стенках — боевые уступы для боевых упоров затвора и продольные пазы для направляющих выступов затворной рамы; в задней части — вертикальные пазы для соединения со спусковой рамой; на верхней стенке — отражатель с пружиной для отражения гильз;

— снаружи на боковых стенках — отверстия для замыкателя ствола; на правой стенке, кроме того, нарезное отверстие для соединительного винта; сверху — окно для пустотелого выступа основания приемника, закрываемое щитиком;

— снизу — крючки для закругленных выступов спусковой рамы.

Рис. 18. Замыкатель ствола:

1 — головка; 2 — зуб; 3 — стержень; 4 — муфта; 5 — защелка; 6 — пружина защелки; 7 — пружина замыкателя; 8 — рукоятка защелки

На ствольной коробке смонтирован прицел и нанесен номер пулемета.

У некоторых пулеметов сзади на левой стенке ствольной коробки имеется переходной кронштейн для присоединения ночного прицела.

Замыкатель ствола (рис. 18) служит для закрепления ствола в ствольной коробке. Оп имеет головку с зубом, стержень с полукруглой выемкой для ствола и нарезкой для соединения с муфтой и защелку с рукояткой и пружиной, которая в сложенном виде препятствует утапливанию замыкателя. Заскакивание зуба головки замыкателя в выемку ствола обеспечивается пружиной замыкателя.

14. Прицельное приспособление служит для наводки пулемета при стрельбе по целям на различные расстояния. Оно состоит из прицела и мушки.

Прицел (рис. 19) состоит из колодки прицела с пластинчатой пружиной, прицельной планки, хомутика с двумя защелками и пружинами.

Рис. 19. Прицел:

1 — колодка прицела; 2 — пластинчатая пружина; 3 — прицельная планка; 4 — хомутик; 5 — защелки хомутика; 6 — секторы; 7 — проушина; 8 — гривка с прорезью; 9 — шкала с делениями

Колодка прицела имеет два сектора для придания прицельной планке определенной высоты и проушину для крепления прицельной планки. В колодке прицела закреплена пластинчатая пружина, предназначенная для удержания прицельной планки в приданном положении, и вмонтирована защелка приемника с пружиной.

Прицельная планка имеет гривку с прорезью для прицеливания и вырезы для удержания хомутика в установленном положении. На прицельной планке сверху нанесена шкала с делениями от 1 до 15, обозначающими расстояние в сотнях метров. Деления прицела разделены короткими рисками на полусотни метров.

Рис. 20. Мушка:

1 — мушка; 2 — предохранитель мушки; 3 — пазы; 4 — винт; 5 — отверстие для мушки; 6 — шкала с делениями

Для установки прицела на требуемое деление необходимо передний срез хомутика совместить с риской под соответствующей цифрой на прицельной планке; точность установки прицела фиксируется защелками хомутика.

Мушка (рис. 20) ввинчена в предохранитель мушки, который предохраняет ее от случайных ударов и от яркого освещения. Предохранитель мушки имеет пазы для соединения с приливом кожуха, винт бокового перемещения мушки и нарезное отверстие для мушки.

На передней плоскости предохранителя мушки нанесена шкала с делениями в миллиметрах, по пяти делений вправо и влево от нуля. Против шкалы на приливе кожуха имеется риска. По делениям шкалы и по риске определяется необходимая величина передвижения и фиксируется положение мушки при приведении пулемета к нормальному бою.

Рис. 21. Защелка приемника:

1 — зацеп; 2 — пружина; 3 — предохранительные щеки

Защелка приемника (рис. 21) служит для удержания приемника (магазина) на пулемете. Она имеет зацеп, который находит на выступ крышки приемника и удерживает его на пулемете, пружину и предохранительные щеки для защиты гривки прицельной планки от случайных ударов и для оттягивания защелки.

15. Затворная рама с газовым поршнем (рис. 22) служит для приведения в действие затвора и подвижных частей приемника. Она имеет: в передней части — окно для прохода выбрасываемых гильз (патронов); сверху — прямоугольный выем для помещения прямоугольного выступа остова затвора и фигурный выем для помещения нижней части выступов боевых упоров и фигурного выступа остова затвора; на заднем конце — стойку с вырезом для ударника; справа — рукоятку для приведения в движение затворной рамы и подвижных частей приемника; с боков — направляющие выступы для соединения со ствольной коробкой; снизу — паз, оканчивающийся боевым взводом.

Рис. 22. Затворная рама с газовым поршнем:

1 — окно для прохода гильз; 2 — прямоугольный выем; 3 — фигурный выем; 4 — стойка с вырезом; 5 — рукоятка; 6 — стержень газового поршня; 7 — газовый поршень

Рис. 23. Затвор

К передней части затворной рамы присоединен стержень газового поршня.

Газовый поршень на переднем конце имеет кольцевые выточки для улучшения обтюрации газов в патрубке газовой каморы.

16. Затвор (рис. 23) служит для досылания патрона в патронник, закрывания канала ствола, разбивания капсюля патрона и извлечения из патронника гильзы (патрона). Он состоит из остова, двух боевых упоров, ударника с бойком и выбрасывателя с пружиной и осью.

Рис. 24. Остов затвора:

1 — досылатель; 2 — фигурный выступ; 3 — прямоугольный выступ; 4 — выем для боевого упора

Остов затвора (рис. 24) служит для соединения всех частей затвора. Он имеет: на переднем срезе — два цилиндрических выреза для дна гильзы и для выбрасывателя с пружиной; отверстие для выхода бойка ударника; сверху — гребень с пазом для отражателя, передняя часть гребня является досылателем; снизу сзади — фигурный выступ для соединения с затворной рамой и снизу впереди — прямоугольный выступ для прочности нижней стенки выреза для выбрасывателя с пружиной; с обеих сторон — выемы для боевых упоров; поперечное сквозное отверстие для оси выбрасывателя; внутри — канал для ударника.

Боевые упоры (рис. 25) служат для запирания затвора при выстреле. С внутренней стороны боевые упоры имеют выступы, верхняя часть которых обеспечивает разведение боевых упоров скосами утолщенной части ударника, а нижняя часть — сведение их скосами фигурного выема затворной рамы.

Рис. 25. Боевые упоры

Ударник (рис. 26) служит для разведения боевых упоров перед выстрелом и для нанесения удара по капсюлю. Он имеет: впереди — боек для нанесения удара по капсюлю патрона; в середине — кольцевой буртик для упора возвратно-боевой пружины, боковые вырезы для соединения с затворной рамой и утолщение для разведения боевых упоров; сзади — хвостовик для направления движения переднего конца возвратно-боевой пружины.

Рис. 26. Ударник:

1 — боек; 2 — утолщение для разведения боевых упоров; 3 — боковой вырез; 4 — кольцевой буртик; 5 — хвостовик

Выбрасыватель (рис. 27) служит для извлечения гильзы (патрона) из патронника и удержания ее до встречи с отражателем. Он имеет зацеп для захвата гильзы и вырез для оси; ось для крепления выбрасывателя в остове затвора и пружину для придания выбрасывателю положения, обеспечивающего заскакивание зацепа за закраину дна гильзы и прочное удерживание ее в вырезе остова затвора.

Рис. 27. Выбрасыватель:

1 — зацеп; 2 — вырез для оси; 3 — ось выбрасывателя; 4 — пружина выбрасывателя

Рис. 28. Спусковая рама с прикладом:

1 — закругленный выступ; 2 — стойка; 3 — вертикальный выступ; 4 — канал; 5 — спусковая скоба; 6 — пистолетная рукоятка; 7 — приклад; 8 — антабка; 9 — масленка; 10 — металлический затыльник

17. Спусковая рама с прикладом (рис. 28) служит для помещения спускового механизма, присоединения трубки возвратно-боевой пружины и для удобства действия пулеметом.

Спусковая рама имеет: на переднем конце — закругленные выступы, которые входят в крючки ствольной коробки; в середине — гнездо для спускового механизма; в задней части — стойку с вертикальными выступами для соединения со ствольной коробкой; на правой стороне стойки — отверстие для соединительного винта; внутри стойки — сквозной канал с кольцевой канавкой для соединения с трубкой возвратно-боевой пружины; сзади стойки — срезы для защелки трубки. Снизу на спусковой раме имеются спусковая скоба, поперечное отверстие для стержня предохранителя и пистолетная рукоятка для удобства удержания пулемета при ведении огня.

Приклад имеет: слева — антабку для ремня; сверху — масленку с пружинящим зубом, который удерживает крышку затыльника: внутри — гнездо для пенала с принадлежностью; металлический затыльник с крышкой для закрывания гнезда приклада.

18. Трубка возвратно-боевой пружины (рис. 29) служит для помещения и упора заднего конца возвратно-боевой пружины. В передней части трубка имеет выступ с гнездом для защелки и два секторных выступа для соединения со спусковой рамой.

19. Возвратно-боевая пружина (рис. 30) служит для возвращения затворной рамы с затвором в переднее положение и для сообщения ударнику энергии, необходимой для разбивания капсюля патрона.

Рис. 29. Трубка возвратно-боевой пружины:

1 — выступ; 2 — защелка; 3 — секторный выступ

Рис. 30. Возвратно-боевая пружина

Рис. 31. Спусковой механизм:

1 — спусковой рычаг; 2 — пружина спускового рычага; 3 — спусковой крючок; 4 — ось спускового крючка; 5 — предохранитель; 6 — пружина предохранителя; 7 — шептало; 8 — флажок предохранителя; 9 — стержень; 10 — срез для пружины предохранителя; 11 — вырез для спускового рычага

20. Спусковой механизм (рис. 31) служит для удержания затворной рамы на боевом взводе, спуска ее с боевого взвода и постановки пулемета на предохранитель. Он состоит из спускового рычага с пружиной, спускового крючка с осью и предохранителя с пружиной. Задний конец спускового рычага называется шепталом. На нем затворная рама удерживается на боевом взводе.

Спусковой крючок служит для вывода шептала из-под боевого взвода затворной рамы.

Предохранитель служит для запирания спускового рычага, когда затворная рама находится на боевом взводе, чем исключается возможность случайного выстрела. Предохранитель имеет флажок для удобства поворачивания его и стержень, на котором имеются срез для пружины и вырез для спускового рычага.

Рис. 32. Соединительный винт:

1 — стержень с нарезкой; 2 — флажок; 3 — стопорный выступ

Чтобы поставить пулемет на предохранитель, необходимо флажок предохранителя повернуть вперед; чтобы снять пулемет с предохранителя, надо флажок предохранителя повернуть назад (будет видна надпись «Огонь»).

Запрещается ставить пулемет на предохранитель, когда затворная рама находится в переднем положении, так как в этом случае при отводе затворной рамы назад может произойти заклинание ее.

21. Соединительный винт (рис. 32) служит для соединения спусковой рамы со ствольной коробкой. Он имеет стержень с нарезкой, флажок для удобства ввинчивания и взвинчивания и стопорный выступ для предохранения от самоотвинчивания.

Рис. 33. Приемник

22. Приемник (рис. 33) служит для передвижения ленты с патронами и подачи патронов в процессе стрельбы из ленты в пустотелый выступ основания приемника. Он состоит из основания приемника с рукояткой для переноски пулемета, движка, горловины с лотком, ползуна с подавателем, крышки приемника и оси крышки с пружиной.

Основание приемника (рис. 34) служит для соединения частей приемника. На передней стенке основания имеются проушина для крепления рукоятки пулемета и вырез, через который проходит зацеп рукоятки пулемета для соединения ее с кожухом. Передний конец основания приемника оканчивается вилкой, предназначенной для крепления приемника на пулемете. Между передней частью и серединой основания приемника в боковых стенках имеются отверстия для оси крышки приемника. Ось крышки приемника одновременно крепит к основанию приемника горловину. На дне основания приемника имеются два продольных выреза: один вырез для вилки движка и другой — для прохода патрона. В стенках основания имеются пазы для передвижения движка.

Рис. 34. Основание приемника:

1 — проушина; 2 — рукоятка пулемета; 3 — зацеп рукоятки; 4 — вилка; 5 — вырез для вилки движка; 6 — вырез для прохода патронов

Снизу основание приемника имеет пустотелый выступ, который предназначен для помещения патрона и направления его в патронник ствола.

Движок (рис. 35) служит для извлечения патрона из ленты и перенесения его в пустотелый выступ основания приемника, а также для перемещения ползуна. Он имеет два зацепа для захватывания патрона за закраину дна гильзы (левый зацеп пружинящий), криволинейный паз для ролика ползуна и вилку для сцепления с рукояткой затворной рамы.

Рис. 35. Движок:

1 — зацепы; 2 — криволинейный паз; 3 — вилка

Горловина (рис. 36) служит для направления движения ленты с патронами. Она имеет: в передней части — отверстия для оси крышки приемника; в поперечной стенке — отверстие для загнутого конца пружины крышки; поперечное окно, в котором перемещается ползун с подавателем; на дне горловины — направляющие и ограничительный выступы для очередного патрона в ленте; в задней части — вырезы для зацепов движка. С правой стороны к горловине шарнирно прикреплен лоток, который служит для поддержки ленты с патронами при подаче ее в приемное окно, Лоток в походном положении закрывает приемное окно, защищая приемник от попадания грязи и снега.

Рис. 36. Горловина:

1 — отверстие для оси крышки; 2 — поперечное окно; 3 — направляющий выступ для пули; 4 — направляющий выступ для дна гильзы; 5 — ограничительный выступ; 6 — вырезы для зацепов движка; 7 — лоток

Ползун (рис. 37) служит для передвижения ленты с патронами. Он имеет: сверху — подаватель с пружиной и осью; снизу — ролик.

Крышка приемника (рис. 38) служит для закрывания приемника сверху и для присоединения верхних пальцев и рычага подачи.

Она имеет: на переднем конце — проушину для соединения с основанием приемника; в середине с внутренней стороны — выем для верхних пальцев с пружиной, удерживающих ленту с патронами в приемнике; впереди этого выема — направляющий выступ для пули, а сзади — направляющий выступ для дна гильзы; в задней части — гребень подачи и продольный паз для помещения рычага подачи с пружиной; гребень подачи и рычаг подачи предназначены для опускания патрона в пустотелый выступ основания приемника; на заднем торце — выступ, на который надвигается зацеп защелки приемника.

Рис. 37. Ползун:

1 — подаватель

Рис. 38. Крышка приемника:

1 — проушина; 2 — направляющий выступ для пули; 3 — направляющий выступ для дна гильзы; 4 — рычаг подачи; 5 — выступ; 6 — верхние пальцы; 7 — ось крышки приемника; 8 — пружина крышки приемника

Рис. 39. Коробка:

1 — корпус; 2 — крышка; 3 — завертка; 4 — застежка; 5 — ручка

В закрытом виде крышка приемника вместе с основанием приемника образуют приемное окно для ленты.

23. Коробка (рис. 39) служит для помещения ленты с патронами. Она состоит из корпуса и крышки. На корпусе имеется завертка, а на крышке — застежка и ручка для переноски коробки.

Рис. 40. Лента

24. Лента (рис. 40) служит для помещения патронов. Лента состоит из звеньев, соединяемых с помощью соединительных пружин. Передняя часть звеньев ленты сделана по форме дульца гильзы патрона. К концам ленты прикреплены наконечники.

Принадлежность к пулемету

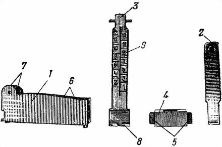
25. Принадлежность (рис. 41) применяется для разборки, сборки, чистки и смазки пулемета.

К принадлежности относятся:

— шомпол (составной из четырех звеньев) для чистки и смазки канала ствола, патрубка газовой каморы и труб кожуха; на одном конце он имеет кольцевую проточку для соединения с ключом-отверткой, на другом конце — резьбу для навинчивания ершика и две щели для продевания пакли или ветоши;

Рис. 41. Принадлежность к пулемету:

1 — шомпол; 2 — ершик; 3 — выколотка; 4 — извлекатель; 5 — коленчатый стержень; 6 — ключ-отвертка; 7 — масленка

— ершик для чистки ствола пулемета раствором РЧС;

— выколотка для выталкивания осей и шпилек;

— извлекатель для удаления из патронника дульца гильзы в случае ее поперечного разрыва;

— коленчатый стержень для протирания и смазывания патронника через окно ствольной коробки без разборки пулемета;

— ключ-отвертка для отвинчивания и навинчивания частей пулемета; он имеет больший вырез для ствола и пламегасителя и меньший вырез для осей ног сошки, прилив с квадратным гнездом для ввинчивания и вывинчивания мушки; кроме того. ключ служит отверткой и одновременно является рукояткой шомпола;

— масленка для хранения смазки;

— пенал для хранения ключа-отвертки, коленчатого стержня, ершика, извлекателя и выколотки.

7,62-мм боевые патроны

26. Боевой патрон (рис. 42) состоит из пули, гильзы, порохового заряда и капсюля.

Рис. 42. Боевой патрон:

1 — пуля; 2 — гильза; 3 — пороховой заряд; 4 — капсюль

27. Патроны выпускаются с обыкновенными (со стальным сердечником, легкой обр. 1908 г.), трассирующими и бронебойно-зажигательными пулями. Для отличия пуль их головные части имеют различную окраску.

Обыкновенные (со стальным сердечником и легкая обр. 1908 г.) пули предназначены для поражения живой силы, расположенной открыто и за масками, пробиваемыми пулей.

Пуля со стальным сердечником (рис. 43, а) состоит из стальной плакированной томпаком оболочки, свинцовой рубашки и стального сердечника. Головная часть пули окрашена в серебристый цвет.

Рис. 43. Пули:

а — обыкновенная со стальным сердечником; б — трассирующая; в — бронебойно-зажигательная; 1 — оболочка; 2 — свинцовая рубашка; 3 — сердечник; 4 — стаканчик; 5 — трассирующий состав; 6 — зажигательный состав

Легкая пуля обр. 1908 г. состоит из железной плакированной томпаком оболочки и сердечника (сплав свинца с сурьмой), впрессованного в оболочку. Отличительной окраски эта пуля не имеет.

Трассирующая пуля (рис. 43, б) предназначена для целеуказания и корректирования огня на расстояниях до 1000 м, а также для поражения живой силы. Она состоит из оболочки, свинцового сердечника и стаканчика с запрессованным трассирующим составом. При выстреле горение от порохового заряда передается трассирующему составу пули, который, сгорая при полете пули, дает яркий светящийся след, хорошо видимый днем и ночью.

Головная часть пули окрашена в зеленый цвет.

Бронебойно-зажигательная пуля (рис. 43, в) предназначена для зажигания горючих жидкостей и для поражения живой силы, находящейся за легкими броневыми прикрытиями, на дальностях до 500 м. Она состоит из оболочки, стального сердечника со свинцовой рубашкой и зажигательного состава. При ударе пули о броню зажигательный состав воспламеняется и пламя через отверстие в броне, пробитое стальным сердечником пули, воспламеняет горючее.

Головная часть пули окрашена в черный цвет с красным пояском.

28. Гильза служит для соединения всех частей патрона, предохранения порохового заряда от внешних влияний и для устранения прорыва пороховых газов в сторону затвора. Она имеет корпус для помещения порохового заряда, дульце для закрепления пули и дно с закраиной для захвата гильзы зацепом выбрасывателя. В дне гильзы имеются гнездо для капсюля, наковальня, на которой капсюль разбивается бойком ударника, и два затравочных отверстия.

29. Капсюль служит для воспламенения порохового заряда. Капсюль состоит из латунного колпачка, ударного состава и фольгового кружка, прикрывающего ударный состав. При ударе по капсюлю ударный состав воспламеняется, пламя через затравочные отверстия в дне гильзы проникает к пороховому заряду и воспламеняет его.

30. Патроны укупориваются в деревянные ящики. В ящике укладываются две герметически закрытые железные оцинкованные коробки, содержащие по 440 патронов, упакованных в картонные пачки. Всего в ящике помещается 880 патронов.

Если в ящике содержатся патроны с обыкновенными пулями, на боковой стенке ящика цветные полосы не наносятся. Если в ящике находятся патроны с трассирующими пулями, на его стенке имеется зеленая полоса, если с бронебойно-зажигательными — черная и красная полосы.

Более 800 000 книг и аудиокниг! 📚

Получи 2 месяца Литрес Подписки в подарок и наслаждайся неограниченным чтением

ПОЛУЧИТЬ ПОДАРОК