Глава III НАЗНАЧЕНИЕ, УСТРОЙСТВО ЧАСТЕЙ И МЕХАНИЗМОВ ГРАНАТОМЕТА, ВЫСТРЕЛА, ЗАПАСНЫХ ЧАСТЕЙ, ИНСТРУМЕНТА И ПРИНАДЛЕЖНОСТИ

Назначение и устройство частей и механизмов гранатомета

13. Ствол (рис. 20) служит для направления полета гранаты. Внутри ствол имеет канал с шестнадцатью нарезами, вьющимися слева вверх направо. Нарезы служат для придания гранате вращательного движения. Промежутки между парезами называются полями. Расстояние между двумя противоположными полями (по диаметру) называется калибром канала ствола; у гранатомета он равен 30 мм. В казенной части канал гладкий; эта часть канала служит для помещения выстрела и называется патронником.

Рис. 20. Ствол:

1 — вырез для замыкателя ствола; 2 — замыкатель ствола; 3 — скос для направления выстрела; 4 — защелка замыкателя ствола

Снаружи ствол имеет: на дульном срезе — взаимно перпендикулярные прорези для наклеивания нитей при выверке прицела; в средней части — ребристую поверхность для увеличения поверхности теплоотдачи; на утолщенной части — вырез для замыкателя ствола и скос для направления выстрела при досылании его в патронник,

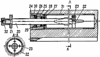
14. Ствольная коробка (рис. 21) служит для соединения частей и механизмов гранатомета, направления движения затвора и для обеспечения запирания канала ствола затвором.

Ствольная коробка имеет:

— в передней части — патрубок для присоединения ствола; отверстие для замыкателя ствола; проушины для оси приемника, которая одновременно служит для крепления приемника, лотка, съемника и ударно-спускового механизма; съемник с клиньями, служащий для направления ленты и отделения от нее досылаемого выстрела; лоток, направляющий движение ленты; отверстия для фиксаторов приемника, удерживающих его в открытом положении;

а

б

Рис. 21. Ствольная коробка:

а — в собранном виде; б — в разобранном виде; 1 — патрубок; 2 — отверстие для замыкателя ствола; 3 — проушины для оси приемника; 4 — клинья съемннка; 5 — лоток; 6 — отверстия для фиксаторов приемника; 7 — кронштейн для крепления прицела; 8 — цапфенные гнезда для крепления гранатомета на станке; 9 — полуось; 10 — отверстия для замыкателя затыльника; 11 — замыкатель затыльника; 12 — затыльник; 13 — рукоятка гранатомета; 14 — тяга рукоятки; 15 — пружина рукоятки; 16 — спусковой рычаг; 17 — ось спускового рычага; 18 — пружины спускового рычага; 19 — входное окно для выстрелов; 20 — спусковая планка; 21 — направляющая затвора; 22 — копир досылателя; — упор для фланца штока гидротормоза; 24 — ось приемника, лотка и съемника

— справа — скобу с защелкой для присоединения коробки с выстрелами; слева — кронштейн с эксцентриком, ручкой и пружиной для крепления прицела; на боковых стенках — два выреза для защелок приемника; два цапфенных гнезда и в задней нижней части снизу серьгу для крепления гранатомета на станке; на левой стенке — два выреза для выступов ударника и один вырез (задний) для переднего конца спусковой планки;

— сзади — нижние отверстия для полуосей и верхние для замыкателя, с помощью которых затыльник крепится к ствольной коробке; на полуосях закрепляются рукоятки гранатомета с тягами и пружинами, служащие для наведения гранатомета в цель и удержания его при стрельбе; затыльник, являющийся задней стенкой ствольной коробки и упором возвратных пружин; на наружной стороне затыльника осью закреплен спусковой рычаг с двумя пружинами;

— внутри впереди — два упора патрубка, ограничивающие движение затвора вперед; сверху — входное окно для выстрелов; на левой стенке — шип для крепления спусковой планки, с помощью которой передается усилие спускового рычага на флажок оси шептала; копир разобщителя для выключения разобщителя после постановки ударника на боевой взвод; на правой и левой стенках — направляющие затвора и копиры досылателя, взаимодействуя с которыми досылатель затвора обеспечивает подачу выстрела из ленты в патронник ствола; в задней части — два упора для фланца штока гидротормоза; снизу — выводное окно для выбрасывания гильз (выстрелов).

15. Затвор (рис. 22) служит для досылания выстрела в патронник, запирания канала ствола, производства выстрела, удержания и извлечения гильзы, приведения в действие ударника, механизмов подачи ленты и отражения гильзы.

Затвор состоит из остова, досылателя с фиксаторами, извлекателя, боевой плиты, бойка, рычага бойка, разобщителя и гидротормоза.

Остов затвора имеет: на верхней плоскости — криволинейный паз, в который входит ролик рычага подачи; гребень для приведения в действие механизма отражения гильзы; зацеп для соединения затвора с выступом обоймы механизма перезаряжания; на переднем срезе — вертикальные пазы, по которым перемещается досылатель; два гнезда для помещения двух фиксаторов с пружинами; гнездо для присоединения боевой плиты; на левой стороне — два гнезда: переднее — для рычага бойка, заднее — для разобщителя; внутри — три продольных отверстия: два нижних для возвратных пружин, третье является цилиндром гидравлического тормоза.

Досылатель служит для отделения выстрела от звена ленты, направления и досылания его в патронник. Он имеет выступы для взаимодействия с копирами ствольной коробки и зацепы для захвата выстрела за дно гильзы. Фиксаторы с пружинами удерживают досылатель от выпадения из затвора при отделении затвора от ствольной коробки.

Извлекатель предназначен для удержания гильзы при движении затвора назад и извлечения выстрела при разряжании гранатомета. Он имеет отверстие для стакана с пружиной, зацеп для захвата гильзы и отверстие для оси, которая одновременно удерживает и фиксаторы.

Боевая плита имеет гнездо для помещения бойка и пружины бойка и сухарные выступы для ее присоединения к затвору.

Рычаг бойка служит для передачи энергии ударника бойку, который разбивает капсюль-воспламенитель выстрела. Он имеет отверстие для оси.

Разобщитель служит для взведения ударника и разобщения его с затвором при подходе затвора в переднее положение. Он имеет пластинчатую пружину.

Гидротормоз служит для поглощения избытка энергии затвора при движении назад и притормаживания его при подходе в переднее положение. Он состоит из цилиндра (гильзы), в который заливается керосин, штока и уплотнителя. Цилиндр имеет четыре продольных окна переменного сечения для перетекания керосина и создания требуемого торможения затвора. Передняя часть штока представляет собой поршень с четырьмя отверстиями для перетекания керосина. На задней части штока имеется фланец, который при движении затвора назад упирается в затыльник, а при движении затвора вперед — в упоры ствольной коробки и приводит в действие гидротормоз. Уплотнитель в собранном виде ввинчивается в отверстие затвора и препятствует вытеканию керосина из цилиндра при перемещении штока.

а

б

в

Рис. 22. Затвор:

а — в собранном виде; б — в разобранном виде; в — схема устройства гидротормоза; 1 — остов затвора; 2 — досылатель; 3 — фиксаторы досылателя; 4 — пружины фиксаторов; 5 — нзвлекатель; 6 — ось нзвлекателя; 7 — стакан и пружина извлекателя; 8 — боевая плита; 9 — боек; 10 — пружина бойка; 11 — рычаг бойка; 12 — ось рычага бойка; 13 — разобщнтель; 14 — криволинейный паз; 15 — гребень; 16 — зацеп; 17 — вертикальные пазы; 18 — гнездо для рычага бойка; 19 — пружина разобщителя; 20 — шток гидротормоза; 21 — фланец штока; 22 — поршень; 23 — отверстие; 24 — корпус уплотнителя; 25 — опорное кольцо; 26 — гайка уплотнителя; 27 — резиновое кольцо; 28 — уплотнительное кольцо; 29 — кольцо; 30 — штифт; 31 — гильза; 32 — штифт фиксатора

16. Возвратные пружины (рис. 23) служат для возвращения затвора в переднее положение, удержания его в этом положении и торможения затвора при его движении назад. Каждая возвратная пружина имеет направляющую, стержень и замок.

17. Приемник (рис. 24) служит для направления и передвижения ленты с выстрелами при стрельбе и отражения гильзы. Он состоит из основания приемника, механизма подачи ленты с выстрелами и механизма отражения гильзы.

Основание приемника имеет: в передней части — проушину для оси приемника, фиксаторы приемника для удержания его в открытом положении и упор, обеспечивающий при закрытом приемнике такое расстояние между клиньями съемника и лотком, при котором исключается возможность попадания звена ленты под клинья съемника; в средней части — две защелки приемника для запирания его на ствольной коробке и щиток для направления ленты, выходящей из приемника; сзади на правой стенке — отверстия для выступа и защелки фиксатора рычага подачи; на внутренней верхней стенке — два фиксирующих пальца с пружинами для удержания ленты с выстрелами в приемнике, цапфы для рычага подачи и механизма отражения гильзы.

а

б

Рис. 2З. Возвратные пружины:

а — в собранном виде; б — в разобранном виде; 1 — возвратные пружины; 2 — направляющие, 3 — стержни; 4 — замки

а

б

Рис. 24. Приемник:

а — в собранном виде; б — в разобранном виде; 1 — основание приемника; 2 — проушина; 3 — фиксатор приемника; 4 — упор; 5 — защелки приемника; 6 — щиток; 7 — фиксирующие пальцы; 8 — цапфа для рычага подачи; 9 — цапфа для механизма отражения гильзы; 10 — рычаг подачи; 11 — подаватель; 12 — ось подавателя; 13 — пружины подавателя; 14 — штырь; 15 — ролик; 16 — фиксатор рычага подачи; 17 — корпус механизма отражения гильзы; 18 — отражатель; 19 — ось отражателя

Механизм подачи ленты состоит из рычага подачи; подавателя с осью, пружинами и штырем; ролика и пружинного фиксатора рычага подачи, который при закрытом приемнике надежно удерживает ролик в криволинейном пазу на верхней плоскости затвора.

Механизм отражения гильзы состоит из корпуса, отражателя и фиксатора, который при присоединении механизма отражения гильзы западает в отверстие на цапфе.

18. Ударно-спусковой механизм (рис. 25) служит для постановки ударника на боевой взвод, спуска его с боевого взвода, нанесения удара по рычагу бойка, регулирования темпа стрельбы, постановки гранатомета на предохранитель.

Ударно-спусковой механизм состоит из ударника, штока, боевой пружины, направляющей, шептала, флажка, предохранителя и гидравлического регулятора темпа стрельбы.

На ударнике имеется: справа — два выступа: задний для постановки (во взаимодействии с разобщителем) ударника на боевой взвод, передний для нанесения удара по рычагу бойка; сзади — прилив для взведения ударника вручную; снизу — боевой взвод.

На штоке имеется вырез для фиксатора.

Боевая пружина служит для приведения в действие ударника.

а

б

в

Рис. 25. Ударно-спусковой механизм:

а — в собранном виде; б — а разобранном виде; в — схема устройства гидравлического регулятора темпа стрельбы; 1 — ударник; 2 — шток; 3 — направляющая; 4 — шептало; 5 — флажок; 6 — предохранитель; 7 — передний выступ; 8 — задний выступ; 9 — прилив; 10 — боевой взвод; 11 — вырез для фиксатора; 12 — полукруглый вырез; 13 — вырезы для выступов ударника; 14 — фнксатор штока; 15 — отверстия для оси флажка шептала; 16 — отверстие для оси предохранителя; 17 — пружина шептала; 18 — стакан шептала; 19 — клапан; 20 — пружина клапана; 21 — паз на клапане; 22 — игла; 23 — ручка регулирования темпа стрельбы; 24 — спиральный паз; 25 — утолщение штока; 26 — фторопластовое кольцо; 27 — осевой канал штока; 28 — поперечное отверстие; 29 — наклонное отверстие; 30 — овальное отверстие; 31 — боевая пружина; 32 — втулка; 33 — штифт иглы; 34 — стопорный винт; 35 — пружина; 36 — кольце штока; 37 — цилиндрический штифт; 38 гайка уплотнителя; 39 — кольцо; 40 — опорное кольцо; 41 — стопорное кольцо; 42 — втулка; 43 — кольцо; 44 — корпус уплотнителя; 45 — флажок ручки регулирования темпа стрельбы; 46 — разобщитель; 47 — шайба

На направляющей имеются полукруглый вырез для головки оси приемника, вырезы для выступов ударника, фиксатор штока, отверстия для оси флажка шептала, отверстие для оси предохранителя, гнездо для стакана и пружины шептала.

Шептало служит для постановки ударника на боевой взвод. Оно имеет отверстие для оси флажка, хвост, пружину и стакан.

Флажок с помощью спусковой планки соединен со спусковым рычагом и приводит в действие шептало.

Предохранитель в положении на предохранение («ПР») запирает шептало и тем самым исключает возможность случайного выстрела. Он имеет ось с вырезом и рукоятку.

Гидравлический регулятор темпа стрельбы состоит из цилиндра, которым является корпус ударника, двух уплотнителей и штока с ручкой регулирования темпа стрельбы,

Внутренняя полость цилиндра имеет переднюю широкую и заднюю узкую части. В цилиндр заливается керосин; с двух сторон цилиндр закрыт уплотнителями.

Шток имеет утолщение с фторопластовым кольцом, выполняющее роль поршня; осевой канал переменного сечения с восемью наклонными отверстиями, выходящими на торец утолщения поршня, поперечным и овальным отверстиями, соединяющими осевой канал с внутренней полостью цилиндра (отверстия предназначаются для перетекания керосина из узкой части полости в широкую и наоборот); клапан с пазом малого сечения и пружиной для перекрытия наклонных отверстий; иглу с фторопластовой пробкой, расположенной в осевом канале штока и связанной с ручкой регулирования темпа стрельбы с помощью штифта, который при повороте ручки флажком вниз (минимальный темп стрельбы), перемещаясь по ее спиральному пазу, перемещает иглу с пробкой вперед и пробка иглы закрывает узкую часть осевого канала штока, а при повороте ручки флажком вверх (максимальный темп стрельбы) — выводит пробку из узкой части осевого канала в широкую и таким образом регулирует время перетекания керосина из одной части полости цилиндра в другую, а следовательно, и время движения ударника под действием боевой пружины.

19. Крышка ствольной коробки (рис. 26) предохраняет от загрязнения ствольную коробку и размещенные в ней части гранатомета, а также служит для размещения в ней механизма перезаряжания.

Крышка ствольной коробки имеет: с внутренней стороны — направляющие для перемещения обоймы и выемку для фиксатора обоймы; спереди — два упора для крепления ее на ствольной коробке; на задней стенке — два отверстия для троса; сверху — таблицу стрельбы.

Механизм перезаряжания служит для отведения затвора назад вручную при заряжании и перезаряжании гранатомета. Он состоит из обоймы, троса и рукоятки.

а

б

Рис. 26. Крышка ствольной коробки с механизмом перезаряжания:

а — в собранном виде; б — в разобранном виде; 1 — направляющие; 2 — обойма; 3 — ролик; 4 — трос; 5 — упоры; 6 — рукоятка перезаряжания; 7 — фиксатор обоймы

На обойме имеется зацеп для отведения затвора назад, ролик и фиксатор для удержания обоймы в переднем положении при стрельбе.

20. Станок гранатомета (САГ-17) служит для придания устойчивости гранатомету при стрельбе. Станок (рис. 27) состоит из основания станка, вертлюга, нижней и верхней люлек, соединенных осью, и механизма вертикальной наводки гранатомета.

Основание станка состоит из корпуса и трех ног (одной передней и двух задних). На корпусе имеются: стакан для присоединения вертлюга; гильзоотражатель; сектор с ограничителями горизонтальной наводки гранатомета; антабки для крепления лямок; с левой стороны — кронштейн с защелкой для крепления корпуса с батареей системы освещения прицела. Вертлюг служит для соединения нижней люльки с основанием станка.

Ноги служат опорами станка; они соединены с корпусом осями и зубчатыми шайбами с зажимами и позволяют изменять высоту линии огня. Каждая нога оканчивается сошником с насечкой, обеспечивающей врезание сошника в грунт при продольном перемещении станка и предотвращающей боковое смещение гранатомета при стрельбе; на правой ноге имеется механизм точного горизонтирования гранатомета.

Нижняя люлька служит для обеспечения горизонтальной наводки гранатомета. Она имеет ползун с зажимом и рукояткой.

Верхняя люлька служит для обеспечения вертикальной наводки гранатомета, Она имеет цапфы и фиксатор для присоединения тела гранатомета.

а

б

Рис. 27. Станок гранатомета (САГ-17):

а — вид станка слева; б — механизм точного горизонтироваиня; 1 — основание станка; 2 — вертлюг; 3 — нижняя люлька; 4 — верхняя люлька; 5 — механизм вертикальной наводки; 6 — передняя нога; 7 — задние ноги; 8 — сектор горизонтальной наводки; 9 — антабка для крепления лямки; 10 — кронштейн крепления корпуса с батареей системы освещения прицела; 11 — зажим ноги; 12 — сошник; 13 — насечка; 14 — механизм точного горизонтнроваиия; 15 — ползун; 16 — рукоятка зажима горизонтальной наводки; 17 — цапфы; 18 — фиксатор; 19 — рукоятка маховичка; 20 — маховнчок; 21 — зубчатый сектор; 22 — рукоятка зажима вертикальной наводки; 23 — винт; 24 — флажок; 25 — гильзоотражатель

Механизм вертикальной наводки состоит из двух шестерен (червячной и цилиндрической), червяка с маховичком и рукояткой, зубчатого сектора и зажима сектора с рукояткой.

21. Прицел гранатомета (ПАГ-17) служит для наводки гранатомета при стрельбе по целям на различные расстояния. Увеличение прицела — 2,5х, поле зрения — 12°. Прицел (рис. 28) состоит из корпуса, в котором собраны угломер и механизм углов возвышения, и головки с оптической системой.

Корпус служит для соединения всех частей прицела. Он имеет ось прицела с овальной выемкой и штифтом для присоединения прицела к гранатомету; планку для крепления патрона подсветки шкал и уровней.

В верхней части корпуса собран угломер, который служит для горизонтальной наводки гранатомета. Он состоит из угломерного кольца с указателем, барабанчика угломера с указателем, отводки и поперечного уровня.

Угломерное кольцо с помощью червячного колеса закреплено на оси корпуса и имеет шкалу, разделенную на 60 равных больших делений. Цена большого деления равна 100 делениям угломера (1-00). Нумерация дана через каждые пять делений. Над угломерным кольцом закреплен отражатель для лучшего освещения шкалы ночью.

Барабанчик угломера с помощью червячного винта соединен с червячным колесом и имеет шкалу, разделенную на 100 равных делений. Нумерация дана через каждые десять делений. Деления 0 и 100 совпадают. Цена каждого деления равна одному делению угломера (0-01). При одном полном обороте барабанчика (100 делений) шкала угломерного кольца меняет свое положение на одно большое деление.

а

б

Рис. 28. Прицел гранатомета (ПАГ-17):

а — вид слева; б — вид справа; 1 — корпус; 2 — головка прицела; 3 — ось прицела; 4 — овальная выемка; 5 — штифт; 6 — угломерное кольцо; 7 — указатель больших делений угломера; 8 — барабанчик угломера; 9 — указатель делений барабанчика угломера; 10 — отводка; 11 — поперечный уровень; 12 — шкала больших делений прицела; 13 — указатель шкалы больших делений при цела; 14 — барабанчик прицела; 15 — указатель делений барабанчика прицела; 16 — продольный уровень; 17 — планка для крепления патрона подсветки; 18 — наглазник; 19 — мушка; 20 — целик; 21 — основание для присоединения патрона подсветки сечки прицела; 22 — винт для крепления светофильтра

Отводка служит для расцепления и сцепления червячного винта с червячным колесом. Она удерживается в верхнем положении пружиной. Если отводку опустить вниз до отказа, червяк расцепится с червячным колесом и головку прицела с угломерным кольцом можно свободно вращать.

Поперечный уровень служит для определения бокового наклона гранатомета и его горизонтирования.

Механизм углов возвышения служит для вертикальной наводки гранатомета. Он состоит из шкалы больших делений прицела с указателем на оси прицела, барабанчика прицела с указателем и продольного уровня.

Шкала больших делений прицела разделена на 14 равных делений, каждое из которых соответствует 100 делениям шкалы барабанчика прицела. Она имеет отражатель для улучшения освещения шкалы больших делений ночью.

Барабанчик прицела с помощью червячного винта соединен с червячным сектором оси прицела. При вращении барабанчика прицела червячный винт вместе со шкалой больших делений прицела и корпусом прицела поворачивается вокруг оси прицела. Шкала барабанчика прицела разделена на 100 равных делений. Нумерация дана через каждые десять делений. Деления 0 и 100 совпадают. Цена каждого деления равна одной тысячной. При одном полном обороте барабанчика (100 делений) корпус прицела меняет свое положение на одно большое деление.

Продольный уровень служит для контроля и придания гранатомету заданного угла возвышения при стрельбе с закрытой огневой позиции. Крепление уровня позволяет при необходимости изменять его положение.

Головка прицела служит для визирования на цель (точку наводки); в ней собрана оптическая система. На головке имеется: сзади — наглазник; слева — мушка и целик для прямой наводки гранатомета в случае повреждения оптической системы; сверху — основание для присоединения патрона подсветки сетки прицела; спереди на оправе — два винта для крепления светофильтров.

Оптическая система прицела (рис. 29) состоит из объектива, призмы, сетки, окуляра и защитного стекла.

Объектив предназначается для получения изображения наблюдаемого объекта. Призма является оборачивающей системой и служит для получения действительного прямого изображения. Окуляр служит для увеличения и рассматривания изображения наблюдаемого объекта и сетки. Защитное стекло предохраняет прицел от попадания внутрь пыли и грязи. Через него осуществляется подсветка сетки прицела.

Рис. 29. Оптическая система прицела:

1 — объектов; 2 — приема; 3 — сетка; 4 — окуляр; 5 — защитное стекло; 6 — светофильтр

Сетка прицела (рис. 30) представляет собой пластинку, на которой нанесены шкалы углов прицеливания и боковых поправок.

Шкала углов прицеливания выполнена в виде угольников и штрихов и позволяет производить стрельбу из гранатомета на дальности до 700 м (из гранатометов ранних выпусков — до 550 м). Цена делений между вершинами угольников составляет 100 м, а между вершинами угольника и штриха — 50 м. Цифры 1, 2, 3, 4, 5, 6, 7 соответствуют расстояниям 100, 200, 300, 400, 500, 600 и 700 м.

Влево и вправо от верхнего угольника находится шкала боковых поправок, равная ±0-60. Цена делений этой шкалы равна пяти тысячным (0-05). Она обозначена цифрами 20, 40, 60.

а

б

Рис. 30. Сетка прицела:

а — прицелов раннего выпуска; б — прицелов последнего выпуска

Для работы с прицелом в ночное время в комплекте прицела имеется система освещения, состоящая из корпуса с тумблерами, двух патронов подсветки, ламп, аккумуляторной батареи и проводов.

Для подготовки системы освещения и стрельбе необходимо присоединить: корпус системы освещения с аккумуляторной батареей — к кронштейну основания станка; патрон подсветки сетки прицела — к основанию на головке прицела; патрон подсветки шкал и уровней — к планке на корпусе прицела.

Для улучшения работы с прицелом применяется: в яркую солнечную погоду — нейтральный светофильтр, в пасмурную погоду для повышения контрастности изображения — оранжевый светофильтр.

Прицел с комплектом ЗИП к нему (рис. 31) хранится и транспортируется в укладочном ящике.

Назначение и устройство выстрела

22. Для стрельбы из гранатомета применяется 30-мм выстрел с осколочной гранатой (ВОГ 17).

Выстрел ВОГ-17 (рис. 32) состоит из осколочной гранаты, порохового заряда и головного взрывателя мгновенного действия (ВМГ).

Осколочная граната предназначается для поражения живой силы осколками. Она состоит из корпуса, ведущего пояска, пружины (осколочной рубашки) и разрывного заряда.

Рис. 31. Индивидуальный комплект ЗИП к прицелу:

1 — аккумуляторная батарея 2КНБН 1,5; 2 — корпус системы освещения; 3 — патроны подсветки; 4 — провода; 5 — чехол для системы освещения; 6 — салфетка; 7 — светофильтры; 8 — ампулы в оправе; 9 — лампочки; 10 — колпачки; 11 — ключ; 12 — ключ-отвертка; 13 — отвертка

Рис. 32. Выстрел ВОГ-17:

а — осколочная граната; б — пороховой заряд; в — взрыватель; 1 — корпус; 2 — ведущий поясок; 3 — пружина (осколочная рубашка); 4 — разрывной заряд; 5 — гильза; 6 — капсюль-воспламенитель; 7 — нитроглицериновый порох

Пороховой заряд предназначается для сообщения гранате начальной скорости. Он состоит из гильзы, капсюля-воспламенителя и нитроглицеринового пороха.

Головной взрыватель (рис. 33) служит для обеспечения разрыва гранаты при встрече ее с целью (преградой). Он состоит из ударного (реакционного) и воспламенительного механизмов и предохранительного механизма дальнего взведения.

Ударный механизм обеспечивает срабатывание взрывателя при встрече с преградой. Он состоит из стержня, жала и капсюля-детонатора.

Воспламенительный механизм обеспечивает срабатывание предохранительного механизма. Он состоит из капсюля-воспламенителя, пружины и жала.

а

б

в

Рис. 33. Головной взрыватель:

а — ударный механизм; б — воспламенительный механизм; в — предохранительный механизм дальнего взведения; 1 — стержень; 2 — жало ударного механизма; 3 — капсюль-детонатор; 4 — капсюль-воспламенитель; 5 — пружина жала; 6 — жало воспламенительного механизма; 7 — замедлитель; 8 — пружина; 9 — колпачок; 10 — стопор; 11 — заслонка; 12 — поворотная пружина; 13 — втулка; 14 — ось; 15 — поджимное кольцо; 16 — опорное кольцо; 17 — мембрана; 18 — корпус

Предохранительный механизм дальнего взведения обеспечивает безопасность взрывателя в служебном обращении и дальнее взведение. Он состоит из замедлителя с запрессованным в него пороховым составом, пружины с колпачком и стопора, удерживающего заслонку от разворота поворотной пружиной.

Механизмы взрывателя размещены во втулке с осью, которая поджимает мембрану.

23. Выстрелы в окончательно снаряженном виде помещаются в бумажные гильзы и укладываются в герметичные металлические коробки по 48 штук. По две таких коробки с выстрелами укладываются в деревянные ящики. В каждый ящик вкладывается нож для вскрытия металлических коробок и инструкция по пользованию ножом.

На стенки и крышку ящика, на крышку металлической коробки и гранату наносится черной краской маркировка.

Гранаты в боевом снаряжении окрашены в черный цвет.

Назначение и устройство ленты и коробки для выстрелов

24. Лента для выстрелов (рис. 34) служит для помещения выстрелов и подачи их в приемник гранатомета. Она состоит из отдельных кусков на 10 звеньев каждый. Куски ленты соединяются один с другим с помощью выстрела, звенья между собой в каждом куске — с помощью шплинтов. Звено имеет передние и задние захваты, хвостовик, соединительное кольцо и соединительный выступ.

Рис. 34. Лента для выстрелов:

1 — звено ленты; 2 — шплинт; 3 — передние захваты; 4 — задние захваты; 5 — хвостовик; 6 — соединительное кольцо; 7 — соединительный выступ

Снаряжение ленты выстрелами может производиться вручную или снаряжательной машинкой. Снаряжательная машинка (рис. 35) состоит из корпуса, верхнего лотка для помещения выстрелов; нижнего (переднего и заднего) лотка для помещения ленты; звездки с рукояткой для перемещения ленты и снаряжения ленты выстрелами, направляющей для движения снаряженной ленты, переднего и заднего съемников для отделения выстрелов от ленты.

25. Коробка для выстрелов (рис. 36) служит для помещения ленты с 29 выстрелами. Она имеет ручку для переноски коробки; крышку и створку, закрываемые защелками; шторку для закрывания горловины коробки при транспортировке; обойму с зацепом и зубом для присоединения коробки к гранатомету; внутри — спиральную направляющую (улитку) для направления движения ленты, выступ для удержания ленты. На шторке стрелкой указано положение головной части выстрелов в коробке.

Рис. 35. Схема снаряжательной машинки:

1 — корпус; 2 — верхний лоток; 3 — нижний передний лоток; 4 — нижний задний лоток; 5 — звездка; 6 — рукоятка; 7 — направляющая; 8 — передний съемник; 9 — задний съемник; 10 — передняя стяжка; 11 — задняя стяжка; 12 — лента; 13 — выстрелы

Рис. 36. Коробка для выстрелов:

1 — ручка; 2 — крышка; 3 — защелка крышки; 4 — створка; 5 — защелка створки; 6 — шторка; 7 — зацеп; 8 — зуб; 9 — улитка; 10 — горловина; 11 — выступ

Для укладки ленты в коробку необходимо открыть крышку со шторкой и створку; поместить ленту через горловину в коробку и через открытую створку продвинуть ее по улитке. После укладки ленты пустое звено надевается на выступ, крышка, шторка и створка закрываются на защелки.

Запасные части, инструмент и принадлежность к гранатомету

26. К каждому гранатомету положены:

Запасные части (рис. 37): трос, ролик, шайбы, стопорные кольца, пружины для замены поломавшихся частей.

Рис. 37. Запасные части к гранатомету:

1 — трос; 2 — ролик; 3 — шайбы; 4 — стопорные кольца; 5 — пружины

Инструмент и принадлежность (рис. 38) для использования при разборке, сборке, чистке и смазке гранатомета.

К ним относятся:

— пенал для размещения в нем инструмента, принадлежности и запасных частей (он также используется в качестве ручки для протирки и щетки, пенал имеет крышку и колпачок);

а

б

в

Рис. 38. Инструмент и принадлежность к гранатомету:

а — в собранном виде; б — в разобранном виде; в — принадлежность, подготовленная для чистки и смазки канала ствола; 1 — пенал; 2 — крышка пенала; 3 — колпачок; 4 — протирка; 5 — щетка; 6 — выколотка; 7 — тонкая выколотка

— протирка для чистки и смазки канала ствола; на одном ее конце имеется резьба для соединения с пеналом, на другом — прорезь для продевания пакли или ветоши и резьба для соединения со щеткой;

— щетки: одна — для чистки и другая — для смазки канала ствола; они имеют на металлическом стержне резьбу для соединения с протиркой;

— выколотка для выбивания осей и штифтов;

— тонкая выколотка (шило) для снятия стопорных колец, а также для утапливания фиксатора при отделении механизма отражения гильзы;

— масленка для хранения смазки.

Чехол для переноски тела гранатомета.

Лямки для переноски станка.

Чехол и лямки имеют ремни, длина которых может изменяться для обеспечения удобства переноски тела гранатомета и станка.

Индивидуальный комплект ЗИП находится всегда при гранатомете и укладывается в карманы чехла для переноски тела гранатомета.

27. На шесть гранатометов предусмотрена одна трубка холодной пристрелки (ТХП-1-30).

Трубка холодной пристрелки (рис. 39) предназначается для выверки прицела гранатомета. Она состоит из корпуса со стержнем и оптической системы.

Увеличение ТХП — 5х; поле зрения — 7°20′, диаметр выходного зрачка — 2,75 мм; удаление выходного зрачка — 13 мм; разрешающая сила объектива — 12″; цена наименьшего деления сетки — 5′, параллакс — не более 3′.

Рис. 39. Трубка холодной пристрелки (ТХП-1-30):

1 — объектив; 2 — рукоятка; 3 — окуляр; 4 — диоптрийное кольцо; 5 — стержень; 6 — уровень; 7 — регулировочные винты; 8 — флажок

Оптическая система состоит из объектива, прямоугольной призмы, сетки и окуляра.

Призма служит для отклонения линии визирования на 90° (в окуляр).

Окуляр имеет диоптрийное кольцо, вращением которого устанавливается резкость изображения по глазу наблюдателя.

В фокальной плоскости объектива расположена сетка, на которой нанесено перекрестие со штрихами.

Оптическая система дает прямое, перевернутое справа налево, изображение предметов.

В прилив корпуса ТХП ввинчен хромированный полый стержень, диаметр которого соответствует калибру гранатомета, а ось совпадает с направлением визирной оси оптической системы. На стержне имеется уровень в оправе для установки оси канала ствола гранатомета в горизонтальное положение. Оправа уровня может поворачиваться на стержне, и уровень можно установить ампулой вверх независимо от направления окуляра.

На корпусе ТХП имеется четыре регулировочных винта для центрирования объектива и шарнирно закреплен флажок, предназначенный для сигнализации о том, что ТХП находится в канале ствола гранатомета. С помощью рукоятки флажок может закрепляться в рабочем положении.

ТХП необходимо всегда содержать в чистоте, хранить в укладочном ящике, не допускать резких толчков и ударов во избежание нарушения ее юстировки. При вставлении ТХП в канал ствола и извлечении ее из него следует браться за стержень и не прикладывать больших усилий.

Более 800 000 книг и аудиокниг! 📚

Получи 2 месяца Литрес Подписки в подарок и наслаждайся неограниченным чтением

ПОЛУЧИТЬ ПОДАРОК