Глава 2 Монстр маршала Тухачевского
Говоря о развитии бронетанковой техники в СССР в 1920— 1930-х годах, нельзя не отметить, что в руководстве РККА, за небольшим исключением, оказались малокомпетентные, но весьма амбициозные личности, выдвинутые на ответственные посты Л.Д. Троцким в 1918–1920 гг. Их победы в ходе Гражданской войны объясняются не их полководческим дарованием, а громадным перевесом Красной aрмии над противником как в личном составе, так и в артиллерии. Кроме того, за небольшим исключением (казаки, рыбаки астраханской дельты и т. д.), нижние чины сражались за «белое дело» крайне неохотно и бежали при первой же возможности.
Помимо выдвиженцев Льва Давыдовича в Красной aрмии после 1920 г. остались и десятки военспецов – бывших полковников и даже генералов царской армии. Однако многие из них недолюбливали советскую власть и злорадствовали, глядя на очередную глупость красных маршалов, другие же попросту боялись спорить с «краскомами». Да и взгляды старых военспецов на 20 лет отставали в области военной техники, стратегии и тактики. И военспецы, и «краскомы» черпали сведения о танках и противотанковых орудиях из популярных западных изданий.
В 1931 г. замом председателя Реввоенсовета и начальником вооружений РККА становится Михаил Николаевич Тухачевский. Он закончил в 1914 г. Александровское военное училище и более нигде и никогда не учился.
Что же касается его коллеги наркома тяжелой промышленности Серго Орджоникидзе и его заместителя Ивана Петровича Павлуновского, то они и военных училищ не заканчивали. Орджоникидзе в 1901–1905 гг. учился в фельдшерской школе и, видимо, ее так и не закончил. А Павлуновский вообще нигде, кроме как в церковно-приходской школе, не учился. Зато Павлуновский еще ведал и мобилизационным управлением РККА. Вот эта славная троица дилетантов и определяла направление развития наших танковых орудий и самолетов.
Ладно, у Орджоникидзе и Павлуновского было революционное прошлое, а как вылез наверх отечественный «Бонапарт»? Где был его Тулон? О «красном маршале» выпущено с десяток толстых монографий. Тем не менее биография Тухачевского содержит слишком много темных пятен.
На фронте подпоручик Тухачевский пробыл всего несколько недель и сдался немцам. Есть много любопытных аспектов его пребывания в плену. Но нам наиболее интересен взлет нашего стратега. В конце 1917 г. Тухачевский появляется в Петрограде, а в феврале 1918 г. едет в Москву. Древняя столица становится Тулоном для нашего великого маршала. В Москве Тухачевский останавливается у своего давнего приятеля Н.Н. Кулябко. Родственники Кулябко еще в 1903–1904 гг. вступили в РСДРП и были хорошо знакомы с товарищем В.И. Ульяновым. А в начале 1918 г. Николай Николаевич Кулябко стал членом ВЦИК.
В это время Ленин и Троцкий надумали создать институт военных комиссаров. И вот Кулябко назначается заместителем председателя Всероссийского бюро военных комиссаров. Естественно, что Кулябко решил порадеть приятелю, а заодно избавиться от безработного нахлебника. 5 апреля 1918 г. по рекомендации Кулябко и секретаря ВЦИК А.С. Енукидзе Тухачевского принимают в РКП(б). А уже 27 мая бывший подпоручик вместе с левым эсером бывшим прапорщиком Ю.В. Саблиным в качестве военных комиссаров поставлены присматривать за начальником Московского района обороны Западной завесы бывшим генералом К.К. Бановым!
28 июня 1918 г. бывший подпоручик вступает в командование 1-й армией Восточного фронта. Так началась карьера «великого полководца».
Как видим, «Тулон» Тухачевского слишком дурно пахнет. Я уж не говорю о том, что историк Арсен Мартиросян[6] установил тождество члена ВЦИК Н.Н. Кулябко с неким Николаем Николаевичем Кулябко, который лично выдал билет в Киевскую оперу на спектакль «Сказка о царе Салтане» некоему Мордке Богрову. Мордка в антракте от скуки пристрелил премьер-министра Столыпина, а подполковник Кулябко полетел с поста начальника Киевского охранного отделения. Я попытался проверить эти сведения, но вся информация об Н.Н. Кулябко у нас закрыта. Согласно найденным обрывочным данным, Н.Н. Кулябко по одной версии умер в 1920 г., а по другой – был репрессирован почти одновременно с Тухачевским, в 1937 г.
Так или иначе, но Тухачевский и Ко начали определять военную доктрину СССР. Тухачевский заявил, что «новая мировая война будет войной моторов…». И эта половина фразы великого стратега с 1956 г. кочевала из одного издания в другое. А вот Сталин де не оценил мудрости маршала, уничтожил его и всех лучших военачальников Красной армии, за что наш народ расплатился миллионами убитых в 1941 г.
Но, увы, никто из советских историков не знал или скрывал от народа вторую половину высказывания великого маршала: «… против классово-неоднородного противника». Вот тут-то и «собака зарыта». Надо создать какое-то новое революционное оружие, которым надо не столько уничтожить, сколько напугать «классово-неоднородного противника». И вот тогда-то рабочие и крестьяне, одетые в униформу буржуазных армий, запоют «Интернационал» и стройными рядами пойдут сдаваться частям Красной армии.
Вокруг Тухачевского собираются технические авантюристы Курчевский, Бекаури и др. Великого же стратега охватывают оригинальные идеи. То он требует совместить зенитные пушки с дивизионными и тем самым оставляет армию без зенитного прикрытия вообще. То он решает перевести всю артиллерию на ДРП (динамореактивные пушки). В результате было изготовлено 5 тысяч безоткатных пушек Курчевского, и все они пошли на лом. Вот с подачи Бекаури Тухачевский решает создать армию роботов, состоящую из телеуправляемых самолетов, танков, бронепоездов, бронедрезин, торпедных катеров, подводных лодок и т. п.
В СССР к 1941 г. было изготовлено около 40 тысяч танков – больше, чем во всем остальном мире с 1915 по 1941 г. Подавляющее большинство этих танков – легкие, с толщиной брони от 15 до 8 мм. Такая броня легко пробивалась любыми (!) противотанковыми пушками и ружьями, состоявшими на вооружении стран – вероятных противников. Эти танки с «картонной» броней неизбежно должны были быть уничтожены.
Предвижу возражения, мол, хорошо быть крепким задним умом, а кто мог тогда знать?
На самом деле еще до 22 июня 1941 г. наши танковые войска понесли огромные потери. Точное число потерянных танков на р. Халхин-Гол мне узнать не удалось, поэтому приведу отдельные эпизоды. 3 июля 1939 г. 132 танка 11-й танковой бригады атаковали японские позиции. В ходе атаки бригада потеряла 36 танков подбитыми и 46 сгоревшими, погибло свыше 200 танкистов. Японцы остались на прежней позиции.
Та же 11-я бригада, имевшая к 20 августа 185 танков, за 12 дней, до 31 августа, потеряла 22 танка сожженными и 102 танка подбитыми. И это при том, что противотанковые средства японцев оставляли желать много лучшего.
На всякий случай замечу, что данные, приведенные мной, взяты не из злопыхательной статейки, а из секретного издания П. Другова «Из опыта действий АБТВ на р. Халхын-Гол» (Хабаровск, 1940). Правда, написав о больших потерях, автор в выводах пишет: «Танки БТ-5 и особенно БТ-7 показали себя в боях прекрасными боевыми машинами, способными решать все боевые задачи, какие можно возложить на легкие танки, в соответствии с мощностью их оружия и брони.
К недостаткам этих танков нужно отнести расположение бензобаков, с большой боковой площадью, что являлось основной причиной пожара этих танков от японских бронебойно-зажигательных снарядов 37-мм орудия. Требуют также усиления отдельные детали танка, не нарушая в целом его конструкции.
Танки Т-26 в боях на р. Халхин-Гол показали себя с лучшей стороны»[7].
Вот такие вот у нас были полковники танковых войск!
В ходе Зимней войны с Финляндией финские артиллеристы подбили 955 наших танков, 426 танков сгорело (непонятно, по каким причинам), 378 танков подорвались на минах и фугасах, 110 утонули в болотах и 35 пропали без вести[8].
Неужели, экстраполируя данные о потерях на Халхин-Голе и в Зимней войне, наши генералы не могли сообразить, что немцы устроят грандиозный танковый погром в первые же недели войны?!
Уже в сентябре 1939 г. каждая германская пехотная дивизия имела свыше 75 противотанковых пушек калибра 37 мм[9]. Всего к 1 июня 1941 г. в вермахте состояло: противотанковых ружей обр. 1938 и 1939 – 25 298; 20/28-мм противотанковых пушек с коническим каналом ствола – 183 (всего в 1940–1941 гг. таких пушек было произведено 443); 37-мм противотанковых пушек – 14 459; 50-мм противотанковых пушек – 1047. Кроме того, на вооружении состояли многие сотни чешских, французских и польских противотанковых пушек калибра 25–47 мм.
При такой насыщенности противотанковыми средствами надо ли удивляться, что в 1941 г. было безвозвратно потеряно 17,3 тысячи легких танков. Неужели какой-нибудь новый Вейротер сейчас может предложить иной вариант погрома этих картонных танков, мол, эта первая колонная должна была маршировать не в пункт А, а в пункт Б, а вторая колонна… И вот тогда-то немцы были бы побиты…
Думаю, не надо объяснять, что без хотя бы краткого экскурса в историю танкостроения понять ход боевых действий попросту невозможно.
Работы по созданию тяжелых танков начались в СССР в декабре 1930 г., когда Управление моторизации и механизации (УММ) РККА заключило с Главным конструкторским бюро Орудийно-оружейно-пулеметного объединения договор на разработку проекта тяжелого танка прорыва, получившего обозначение Т-30.
Предполагалось, что это будет 50-тонная машина, вооруженная двумя 76-мм орудиями и пятью пулеметами. Но отсутствие отечественного опыта танкостроения не позволило создать даже проекта полноценной боевой машины такого класса. В начале 1932 г., после выполнения эскизных чертежей и постройки деревянной модели танка все работы по Т-30 были прекращены ввиду его полной несостоятельности как боевой машины.

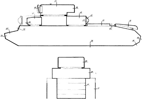
Танк Гротте
1 – направляющее колесо; 2 – 76-мм пушка; 3 – 37-мм пушка; 4 – вращающаяся башня; 5 – неподвижная рубка; 6 – кормовой пулемет «максим»; 7 – поддерживающий каток; 8 – гусеничная цепь; 9 – ведущее колесо; 10 – опорный каток; 11 – бортовая установка пулемета ДТ; 12 – люк для посадки экипажа; 13 – смотровой прибор механика-водителя; 14 – бортовой пулемет «максим»; 15 – стробоскоп
Не увенчалась успехом и попытка Автотанкодизельного отдела Экономического управления ОГПУ (АТДО ЭКУ ОГПУ – шарашки, в которых трудились арестованные конструкторы) разработать до 1931 г. проект танка прорыва весом 75 т. Как и Т-30, этот проект имел множество недостатков, исключавших возможность серийной постройки такой машины.
В марте 1930 г. в Советский Союз прибыла из Германии группа инженеров во главе с Эдвардом Гротте. На ленинградском заводе «Большевик» из них сформировали конструкторское бюро АВО-5, в состав которого и вошла эта группа. Помимо немецких в группу вошли и молодые советские инженеры.
В 1931 г. был создан и испытан танк, спроектированный Гротте – ТГ (танк Гротте). По своему весу (25 т) он считался средним, но имел лобовую противоснарядную броню толщиной 50 мм. ТГ был вооружен 76/30-мм пушкой (качающаяся часть взята от 76-мм зенитной пушки Лендера обр. 1915 г.) и 37-мм пушкой Гочкиса. При этом 76-мм пушка размещалась в большой неподвижной башне и имела малый угол обстрела, а 37-мм пушка находилась в малой вращающейся башне и имела круговой обстрел. Испытания выявили неустранимые дефекты ходовой части, и работы по ТГ прекратили.
В марте 1932 г. Гротте разработал проект тяжелого танка ТГ-VI 3 (ГД 6) весом 70–75 т. Танк имел броневую защиту из стальных листов толщиной 60–70 мм. Вооружение его состояло из двух 45-мм пушек и одной 76-мм полуавтоматической или 100-мм пушки, а также шести пулеметов ДТ. Двигатель М-34 мощностью 850 л. с. позволял танку развивать скорость до 30 км/ч. Запас ходу танка должен был составлять 120–150 км. Экипаж – 10 человек.
Проект этого танка был положен в основу разработки тяжелого танка Т-42, расчетный боевой вес которого достигал 100 т. Лобовая броня танка должна была достигать 70 мм. Была проработана схема компоновки оружия. 100-мм корабельную пушку предполагалось разместить в центральной башне, угол ее горизонтального обстрела составил бы 270°. 76-мм пушка должна была находиться в передней башне и иметь горизонтальный угол обстрела 202°, 45-мм пушка с углом обстрела 278° – в кормовой башне.

Танк Т-35
При тогдашнем состоянии нашего машиностроения реализация такого проекта была нереальна, и Гротте выслали из СССР. Замечу, что Гротте был талантливым инженером, и его проекты являлись не плодом собственной инженерной фантазии, а реализацией требований нашего малограмотного руководства.
АВО-5 было реорганизовано, и его возглавил молодой и энергичный инженер Н.В. Барыков, работавший ранее заместителем Гротте. В состав КБ вошли также конструкторы М.П. Зигель, Б.А. Андрыхевич, А.Б. Гаккель, Я.В. Обухов и другие.
Новое КБ получило задание «к 1 августа 1932 года разработать и построить новый 35-тонный танк прорыва типа ТГ». Этой машине присвоили индекс Т-35. 28 февраля 1932 г. заместитель начальника УММ РККА Г.Г. Бокис докладывал М.Н. Тухачевскому: «Работы по Т-35 идут ударными темпами, и срыва сроков окончания работ не намечается».
При проектировании Т-35 учитывался полуторалетний опыт работы над ТГ-1, а также результаты испытаний немецких танков «Гросстрактор» на полигоне под Казанью и материалы (развединформация) комиссии по закупке бронетанковой техники в Великобритании. Сборку первого прототипа, получившего обозначение Т-35—1, закончили 20 августа 1932 г., а 1 сентября он был показан представителям УММ РККА во главе с Бокисом. На присутствующих машина произвела сильное впечатление.
Внешне Т-35 оказался похожим на английский опытный пятибашенный танк А1Е1 «Индепендент» фирмы «Виккерс». Принято считать, что Т-35 создан по типу «Индепендента», однако в российских архивах нет данных о том, что Советская закупочная комиссия, находившаяся в Англии в 1930 г., интересовалась этой машиной. Скорее всего, что советские конструкторы пришли к пятибашенной схеме самостоятельно, независимо от англичан.
В главной башне Т-35—1 должны были размещаться 76-мм танковая пушка ПС-3 и пулемет ДТ в шаровой установке. Но из-за отсутствия орудия в танке был смонтирован только его макет. В четырех малых башнях, одинаковой конструкции, располагались (по диагонали) две 37-мм пушки ПС-2 и два ДТ. Еще один пулемет ДТ установили в лобовом листе корпуса (курсовой). Ходовая часть машины, применительно к одному борту, состояла из шести опорных катков среднего диаметра, сгруппированных попарно в три тележки, шести поддерживающих роликов, направляющего и ведущего колес. Тележки опорных катков были сконструированы по типу подвески немецкого танка «Гросстрактор» фирмы Круппа. Однако советские конструкторы значительно улучшили принцип работы подвески, примененной на «Гросстракторе».
Моторно-трансмиссионную группу Т-35—1 изготовили с учетом опыта работы над танком ТГ-1. Она состояла из карбюраторного двигателя М-6, главного фрикциона, коробки передач с шестернями шевронного зацепления и бортовых фрикционов.
Для управления ими использовалась пневматическая система, что делало процесс вождения машины весом 38 тонн чрезвычайно легким. Правда, в ходе испытаний осенью 1932 г. выявился ряд недостатков в силовой установке танка. Кроме того, выяснилось, что для серийного производства конструкция трансмиссии и пневмоуправления является слишком сложной и дорогой. Поэтому работы по Т-35—1 прекратили и в конце 1932 г. опытный образец передали Ленинградским бронетанковым курсам усовершенствования командного состава (ЛБТКУКС) для подготовки командиров.
В феврале 1933 г. танковое производство завода «Большевик» было выделено в самостоятельный завод № 174 имени К.Е. Ворошилова. На нем КБ Н.В. Барыкова преобразовали в Опытно-конструкторский машиностроительный отдел (ОКМО), который и занялся с учетом недостатков первого, разработкой второго опытного образца танка, названного Т-35—2. По личному указанию И.В. Сталина была произведена унификация главных башен Т-35 и T-28. Т-35—2 получил также новый двигатель М-17, другую трансмиссию и коробку передач. В остальном же он практически не отличался от своего предшественника, если не считать измененной конструкции фальшборта и настоящей 76,2-мм пушки ПС-3.
Сборку Т-35—2 завершили в апреле 1933 г. 1 мая он прошел во главе парада по площади Урицкого (Дворцовая площадь) в Ленинграде, а Т-35—1 по Красной площади в Москве.
Параллельно со сборкой Т-35—2 в ОКМО велась разработка чертежей серийного танка Т-35А. Причем Т-35—2 рассматривался лишь как переходная модель, идентичная серийному образцу лишь в части трансмиссии.
В соответствии с Постановлением Правительства СССР в мае 1933 г. серийное производство Т-35 было передано на Харьковский паровозостроительный завод имени Коминтерна (ХПЗ). Туда в начале июня 1933 г. в срочном порядке отправили еще не прошедшую испытания машину Т-35—2 и всю рабочую документацию по Т-35А. Проект последнего значительно отличался от обоих прототипов. Танк имел удлиненную на одну тележку ходовую часть, малые пулеметные башни новой конструкции, средние башни увеличенного размера с 45-мм орудиями 20K, измененную форму корпуса и т. д.
Тут несколько слов стоит сказать о пушечном вооружении Т-35. Первые советские танки оснащались 37-мм французскими пушками Гочкиса, серийно производившимися на заводе им. Калинина. Кроме того, в 1932 г. была принята 76-мм танковая пушка обр. 1927/32 г., разработана в КБ Кировского завода на базе 76-мм полковой пушки обр. 1927 г. Основным отличием ее было уменьшение длины отката пушки с 1000 мм до 500 мм (для уменьшения габаритов башни). Затвор пушки поршневой. Тормоз отката гидравлический. Накатник гидропневматический. Прицелы ПТ-1 и ТОД-1. На заводе пушке был присвоен индекс КТ (Кировская танковая). В некоторых случаях пушки именовали КТ-26, КТ-28 и КТ-35 по типу танка, но принципиальных различий у типов этих пушек не было.
Инженер Путиловского завода Сячентов создал систему из двух танковых пушек – 37-мм ПС-2 (пушка Сячентова № 2) и 76-мм пушки ПС-3 (пушка Сячентова № 3). 37-мм пушка была создана на базе пушки «Рейнметалл», образец которой и технологическая документация на изготовление были доставлены в Советский Союз. А вот 76-мм пушка ПС-3 имела оригинальную конструкцию. Длина ствола ее, по сравнению с К Т, была увеличена с 16,5 до 20,5 калибра, а начальная скорость ее снаряда весом 6,5 кг возросла с 370 м/с до 530 м/с. Однако довести до ума ПС-3 Сячентову не удалось, и он был репрессирован. Пушки ПС-3 и ПС-2 были выпущены малой серией. (ПС-2 не пошла в массовое производство в связи с переходом танковой и противотанковой артиллерии с калибра 37 мм на калибр 45 мм.)
В результате штатной пушкой танка Т-35 стала 76-мм пушка обр. 1927/32 г. Бронепробиваемость ее была весьма низкой – 31 мм по нормали на дистанции 500 м. Это официальные данные, но с середины 1930-х годов у нас в служебных изданиях стали завышать данные по бронепробиваемости танковых и противотанковых пушек. Я в Архиве Советской армии сам видел такое указание наркома. Кстати, завышали эти данные и после войны (для 85-мм пушек Д-44, Д-48 и т. д.).
Чтобы не возвращаться более к вооружению танка Т-35, скажу, что управление огнем двух 45-мм и одного 76-мм орудия в танке было практически невозможно. В связи с этим в Остехбюро разработали систему управления артиллерийским огнем «ПУАТ-35». Система была создана по образцу корабельных ПУС и имела 9-футовый дальномер «Барр и Струд» морского ведомства. Система предназначалась не только для Т-35, но и для перспективных двух-, четырех- и пятибашенных танков, включая Т-39. Испытания системы были начаты в феврале 1934 г. В ноябре 1935 г. система была испытана на танке Т-28. Смотровые приборы наводчика пушки были закрыты, и огонь велся по показывающим приборам по информации, вводимой в «ПУАТ-35» командиром танка. Испытания прошли удовлетворительно.
В апреле 1936 г. испытания системы были проведены на танке Т-35 в присутствии наркома Ворошилова. Испытания закончились неудачей. В начале 1938 г. было решено прекратить работы по «ПУАТ-35» «в связи с малым количеством танков Т-35, большой стоимостью системы и сомнительной ценностью ее в условиях маневренной войны».
Но вернемся к работам над танком Т-35. К производству Т-35 подключили несколько заводов, в том числе Ижорский (бронекорпуса), «Красный Октябрь» (коробки передач), Рыбинский (двигатели). По плану Харьковского предприятия смежники должны были уже в июне 1933 г. начать отгрузку своей продукции на ХПЗ, но реально они смогли это сделать лишь в августе.
Т-35 изготовлялся по узловому принципу (9 узлов), окончательная же сборка первой машины велась на специальных козлах (стапелях). Она началась 18 октября 1933 г. и закончилась к 1 ноября. После предварительной обкатки танк 7 ноября принял участие в праздничном параде в Харькове (в то время столица Украины). В этот же день оба прототипа – Т-35—1 и Т-35—2 были показаны на параде в Москве. В соответствии с Постановлением Правительства СССР от 25 октября 1933 г., ХПЗ должен был к 1 января 1934 г. изготовить пять танков Т-35А и один Т-35Б (с двигателем М-34). К указанному сроку полностью готовым оказался только один танк, а еще три, хотя и были на ходу, но не имели вооружения и внутреннего оборудования.
Что касается Т-35Б, то его так и не построили, хотя вопрос о производстве этой машины поднимался в течение полутора лет, после чего о нем «забыли». Т-35 был для своего времени грандиозен не только по размерам, но и по финансовым затратам на его разработку, строительство и эксплуатацию (Т-35А обходился казне в 525 тыс. рублей; за эти же деньги можно было построить девять легких танков БТ-5). Это обстоятельство отчасти и повлияло на то, что в серию не пошла ни одна его дальнейшая модификация.
По плану на 1934 г. ХПЗ планировал выпустить 10 машин Т-35А. Причем, учитывая сложность танка, УММ РККА заключило с ХПЗ договор на эти машины, как на первую опытную партию. В процессе освоения производства завод по своей инициативе внес ряд изменений как для улучшения конструкции танка, так и для облегчения его изготовления.
Но, несмотря на это, освоение Т-35 вызывало большие трудности: например, очень часто ломались траки, которые отливались из стали Гатфильда. До этого ни один завод в СССР в массовых количествах эту сталь не производил, ХПЗ был первым. Кроме того, никак не удавалось устранить перегрев двигателя М-17, а картер коробки передач оказался недостаточно прочным. Но, помимо технических и технологических, существовали и трудности другого рода. Так, начальник 2-го отдела Научно-технического управления УММ РККА Свиридов, посетивший Харьков в апреле 1934 г., докладывал: «Директор ХПЗ т. Бондаренко не только не мобилизует вокруг Т-35 работников завода, но и при всех возможных случаях дискредитирует машину. На ХПЗ никто серьезно не хочет ею заниматься, за исключением КБ завода, которое действительно работает над тем, чтобы выпустить хорошую боевую машину».
Репрессии инженерно-технических работников тоже не способствовали быстрому освоению производства Т-35. Например, в марте 1934 г. на ХПЗ пришло указание «о необходимости тщательной проверки конструкторских расчетов, особенно по коробке скоростей, поскольку в ее проектировании принимал участие конструктор Андрыхевич, ныне арестованный».
Первую машину Т-35 с полностью устраненными недостатками предполагалось сдать к 20 августа 1934 г., однако этот срок был заводом сорван. По этому поводу в конце августа начальник УММ РККА И.А. Халепский писал директору ХПЗ И. Бондаренко: «Сейчас приходится уже говорить не об одной машине. Перед Вами и мной стоит ответственная задача: дать к 7 ноября на парад не менее шести машин, причем они должны быть вполне закончены для работы в армии. Теперь не может быть никаких оправданий. Мы с Вами отвечаем за это дело как члены партии. Нужно очень крепко взяться сейчас за выполнение этой задачи…» И действительно «взялись крепко» – в московском параде участвовало шесть новеньких Т-35, а к концу 1934 г. были сданы армии еще четыре машины. В 1937 г. была проведена модернизация КПП, бортовых фрикционов, масляного бака, электрооборудования, изменена конструкция фальшборта, спроектированы и установлены на машины специальные уплотнения, предохраняющие машину от попадания внутрь воды. Кроме того, глушитель убрали внутрь корпуса, а наружу вывели лишь выхлопные трубы, закрытые бронекожухами. Благодаря этой модернизации надежность танка сильно возросла.
В 1937 г. ХПЗ приступил к проектированию Т-35 с коническими башнями. Выпуск таких танков начался на ХПЗ с конца 1938 г. Всего же за 1932–1939 гг. было изготовлено два прототипа (Т-35—1 и Т-35—2) и 61 серийная машина.
Т-35 стал единственным в мире серийным пятибашенным танком. Состав и размещение его вооружения оптимальны для многобашенного танка. Пять башен, расположенных в два яруса, позволяли сосредоточить массированный огонь из 76-мм и 45-мм пушек и трех пулеметов вперед, назад или на любой борт. Однако столь большая огневая мощь потребовала увеличения числа членов экипажа и усложнения конструкции танка. Двухъярусное расположение башен обусловило значительную высоту машины, что повышало уязвимость танка на поле боя. Без малого 10-метровая длина привела к резкому снижению маневренных характеристик. Кроме того, Т-35 имел большое количество недостатков, связанных с двигателем и трансмиссией. К сожалению, их так и не удалось полностью устранить.
Справедливости ради следует сказать, что подвеска Т-35 при всей ее громоздкости в целом зарекомендовала себя хорошо и отличалась плавностью хода. Высота танка, кроме увеличения уязвимости на поле боя, еще и доставляла ряд проблем при эксплуатации. Например, надгусеничные полки располагались на почти двухметровой высоте. Так что взобраться на танк стоило большого труда, а если нет специальных лесенок, без посторонней помощи практически невозможно. Учитывая, что в танкисты предпочитали брать людей невысокого роста (примерно 160 см), можно себе представить, каково было экипажу машины занимать по тревоге свои места!
Внешне Т-35 удивляет своими размерами, но внутренний объем великана был очень мал. Боевые отделения не сообщались между собой, так что проникнуть из одного в другое без выхода из танка было невозможно.
Обзорность из Т-35 была просто отвратительная, особенно с места механика водителя. Можно предположить, что в боевых условиях ему приходилось вести машину чуть ли не вслепую, так как смотровые щели позволяли видеть местность только слева и впереди, да и то в весьма ограниченных секторах.

Схема бронирования танка Т-35
Но самой большой проблемой было покинуть подбитую машину. Ведь выход осуществлялся лишь через верхние люки, и при этом экипаж главной башни оказывался на четырехметровой высоте под огнем противника. Люк же механика-водителя нельзя открыть, не повернув влево пулеметную башню, заклинивание которой могло стоить ему жизни. Выход из задних башен сильно затруднялся нависающей над ними нишей главной башни и поручневой антенной. Удобство посадки и высадки экипажа конструкторами танка Т-35 были фактически проигнорированы.
В ходе производства Т-35 делалось несколько попыток усилить его защиту. Так, с 1936 г. толщина переднего наклонного щита корпуса и щитка механика-водителя была доведена до 50 мм. В 1938 г. были введены конические башни с толщиной брони 70 мм, а также увеличена до 25 мм толщина лобовой брони корпуса и до 25 мм толщина брони подбашенной коробки главной башни. Боевой вес танка возрос до 54 т.
Всего с апреля 1939 г. и до прекращения производства было выпущено 6 танков Т-35 с усиленной броневой защитой. На двух машинах выпуска 1939 г. в кормовой части главной конической башни был установлен 7,62-мм пулемет ДТ.
Тактико-технические данные тяжелого танка Т-35 приведены в Приложении.
Первые серийные машины Т-35 поступили в 5-й тяжелый танковый полк Резерва Главного Командования (РГК) в Харькове 12 декабря 1935 г. Этот полк был развернут в 5-ю отдельную тяжелую танковую бригаду. Организационно она состояла из трех линейных танковых батальонов одного учебного батальона боевого обеспечения и других подразделений. Приказом наркома обороны от 21 мая 1936 г. бригаду выделили в Резерв Главного Командования. Она предназначалась для усиления стрелковых и танковых соединений при прорыве особо сильных и заблаговременно укрепленных позиций противника.
В соответствии с этим назначением по специально разработанной АБТУ программе велось и обучение танкистов. Подготовка экипажей осуществлялась на специальных курсах, которыми руководили инженеры с ХПЗ. Кроме того, в 1936 г. в Рязани при 3-й тяжелой танковой бригаде был создан учебный танковый батальон Т-35.
Эксплуатация машин первых выпусков (1933–1936 гг.) в войсках показала их весьма слабые тяговые характеристики. Так, по донесению командиров Т-35, «танк преодолевал подъем только в 17°, не мог выйти из большой лужи». Военными отмечалась низкая надежность его агрегатов, вызывала трудности и большая масса боевых машин. В этом отношении весьма характерным можно считать следующий документ, адресованный командному составу тяжелой танковой бригады РГК: «Предлагаю принять к неуклонному руководству следующие правила движения по мостам танков Т-35: 1. На однопролетных мостах – только один танк одновременно; 2. На многопролетных мостах может быть несколько танков, но не менее чем в 50 м друг от друга; 3. Движение по мосту во всех случаях должно производиться так, чтобы ось танка строго совпадала с осью моста. Скорость на мосту – не более 15 км/ч».
Помимо 5-й тяжелой танковой бригады танки Т-35 поступали в различные военные учебные заведения. Так, по данным на 1 января 1938 г., в РККА имелся 41 танк Т-35, 27 – в уже упомянутой танковой бригаде, один – на Казанских бронетанковых курсах усовершенствования технического состава (КБТКУТС), два на НИБТ полигоне в Кубинке, один – в 3-й тяжелой танковой бригаде в Рязани, один – при Военной академии моторизации и механизации (ВАММ) в Москве, один – в Орловской бронетанковой школе, один – на ЛБТКУКС (Т-35—1), один – в Ленинградской школе танковых техников, один – в Институте № 20 (с системой централизованной наводки) и пять – на ХПЗ.
До начала Великой Отечественной войны танки Т-35 не участвовали ни в каких боевых действиях. Упоминания в западных и некоторых отечественных изданиях об использовании этих машин в зимней войне с Финляндией не соответствуют действительности.
Не прошло и полугода, как «служебная карьера» Т-35 чуть было не завершилась. 27 июня 1940 г. в Москве состоялось совещание «О системе автобронетанкового вооружения Красной армии», на котором рассматривался вопрос о перспективных типах танков и о снятии с вооружения старых образцов. В отношении Т-35 мнения разделились. Одни считали, что их нужно переделать в самоходно-артиллерийские установки большой мощности (типа СУ-14), другие предлагали передать их танковому полку ВАММ и использовать для парадов. Но в связи с начавшейся реорганизацией танковых войск Красной армии и формированием механизированных корпусов Т-35 решили «оставить на вооружении до полного износа, изучив вопрос об их экранировке до 50–70 мм».
В результате почти все машины оказались в 67-м и 68-м танковых полках 34-й танковой дивизии 8-го механизированного корпуса Киевского Особого военного округа.
В некоторых публикациях утверждается: «Если до 1935 года тактические данные Т-35 позволяли ему выполнять возложенные на него задачи, то техническое несовершенство и недоведенность машины сводили на нет возможность такого применения. После 1935 года, когда была существенно повышена надежность машины, он уже морально устарел и перестал отвечать предъявляемым к нему требованиям».
Увы, по моему мнению, создание Т-35, равно как и его собратьев (БТ, Т-26, Т-28 и др.), было следствием авантюристской стратегии маршала Тухачевского. Армады наших танков во главе с пятибашенным монстром должны были напугать «морально неустойчивого противника».
Я вполне допускаю, что так и могло произойти в случае войны с Польшей, Румынией, Турцией, Болгарией и т. п. Представим, что бы наделал один Т-35 с бригадой польской кавалерии… Но, увы, для борьбы с морально устойчивым противником (например, с немцами и финнами) такие танки не годились ни в 1932 г., ни в 1936 г.
Следует заметить, что авантюризм Тухачевского и Ко сказался не только при создании тяжелых танков. Так, «великий стратег» в 1931–1933 гг. добился прекращения работ над разборными буксируемыми орудиями особой мощности и буквально навязал промышленности работы над супер-САУ – дуплексом 203-мм пушки и 305-мм гаубицы. Так была спроектирована установка СУ-7 с проектным весом 102–106 т, которая из-за своих габаритов была нетранспортабельна по железной дороге, не проходила через мосты и не вписывалась в кривые улицы малых населенных пунктов. Ко времени прекращения работ (21 апреля 1938 г.) не было создано даже опытного образца СУ-7.
Более 800 000 книг и аудиокниг! 📚
Получи 2 месяца Литрес Подписки в подарок и наслаждайся неограниченным чтением
ПОЛУЧИТЬ ПОДАРОКДанный текст является ознакомительным фрагментом.